Název etalonu: Státní etalon elektrolytické konduktivity v rozsahu (0,005 - 10) S.m-1
Kódové označení: ECM 331-1/19-061
Rok vyhlášení: 2018
Pracoviště: odd. 6016 ČMI OI Brno, Okružní 31, 638 00 Brno
Garant: Mgr. Martina Vičarová, Ph.D.
Počet zajišťovaných CMC řádků: 3
| Rozsah elektrolytické konduktivity (S.m-1) | Rozšířená nejistota (k=2) % |
|---|---|
| (0,005 – 0,015) | (1,70 – 0,23) |
| (0,015 – 0,15) | (0,62 – 0,19) |
| (0,15 – 10) | (0,10 – 0,10) |
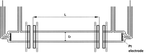
Základem státního etalonu elektrolytické konduktivity je skleněná konduktometrická cela vyrobená v ČR – v Ústavu fyziky plazmatu AV ČR, pracoviště Turnov, Vývojová optická dílna. Cela se skládá ze tří částí. Ve dvou okrajových částech jsou zabudovány platinové elektrody, na které je přiváděno střídavé napětí. Střední část má přesně změřené délkové parametry (vnitřní průměr D a délku válce L). Na základě těchto délkových parametrů se vypočítá konstanta střední části.
kde L je délka střední části primárního článku, kalibrovaná, v m; S je plocha průřezu střední části primárního článku v m2; D je průměr střední části primárního článku, kalibrovaný, v m.
Primární konduktometrická cela, schéma

Princip etalonu je založen na měření impedance referenčních materiálů s různými koncentracemi chloridu draselného ve dvou polohách – měření se střední částí a měření stejného roztoku bez střední části. Elektrolytická konduktivita κ se vypočítá z odečtení impedancí (Z2 – Z1), které se měří v těchto dvou polohách článku a poměru délky L střední části článku k jeho ploše S (konstanta článku K). Parazitní jev vznikající na platinových elektrodách je tímto eliminován, protože se na vodivosti článku podílí stejnou měrou jak se střední částí, tak bez ní.
R0 = Z2 - Z1 = ΔZ
K= L/S
κ = K/R0
kde κ je elektrolytická konduktivita v S.m-1, ΔZ je změna impedanci odpovídající změně délky článku ΔL v Ω, K je konstanta vodivostního článku v m-1, R0 je odpor sloupce elektrolytu délky L v Ω.
Etalon se skládá z následujících částí: konduktometrická cela, RLC most Agilent 4284A, odporový teploměr Pt 25 Tinsley 5187SA, převodník Anton Paar MKT 50.
Pomocná zařízení: vzdušný termostat TB4-LT, váhy Mettler Toledo PR 5003 comparator a XP 56/M, váhy Sartorius CP 225D-OCE, vlhkoměr s teploměrem COMET D3121, tlakoměr Druck DPI 141, laboratorní pícka 003 LP, počítač s programem LabVIEW.