Name of standard: National standard of gas flow in the range of 0.15 m3 /h to 17 m3 /h (EZEM)
Code designation: ECM 140-2/00-009
Year of publication: 2000
Department: dpt. 5012 CMI OI Pardubice
Guarantor: Ing. Tomáš Valenta
Number of CMC lines to be provided: 1
| Range of flows | Uncertainty U(k = 2) |
| 0,15 m3/h to 17 m3/h | 0,18 % |
The static gravimetric principle is internationally the second most commonly used primary equipment basis in the field of gas flow
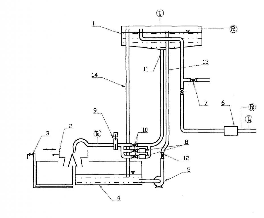
The basic design scheme of the EZEM is shown in the figure below.

The principle of determining the leaked gas volume on this device is based on the equality of the volume of liquid that is discharged from the elevation tank and the volume of air that replaces the discharged liquid.
The basic part is a hermetically sealed wide cylindrical tank (1), which is placed on a steel structure at a height of 4.5 m. This tank is filled with mineral oil and the level can be visually checked by means of a level gauge. Above the level of the oil in the tank is a pipe to which the gas meter under test (6) is connected outside the tank and on which a side valve (7) is located. Down at the lowest point of the conical bottom of the upper tank is the outlet of the discharge pipe (11), through which the oil flows to the lower tank (4) or to the balance (3) during the test. On the discharge pipe there is a filter which serves to clean the oil and three pneumatic valves (10). These three pneumatic valves (10) determine which branch of the upper tank the oil will flow through. The oil can flow directly to the discharge nozzle, which is located at the end of the discharge line, or through two liquid volume flow meters (8). Currently, only the direct branch to the discharge nozzle is used for measurement. Before the nozzle, a pneumatically operated iris orifice (9) is built into the outlet pipe to regulate the flow. The outlet nozzle flows into a switching device (2) which switches the oil flow during the test either to the scale (3) or to the lower tank (4) at the beginning and at the end of the test. The lower (4) and upper (1) tanks are connected by a discharge pipe (13), on which the pneumatic valve (12) and pump (5) are located, and an overflow pipe (14).
At the beginning of the test, one of the pneumatic valves (10) is opened to release the direct branch to the nozzle and the oil flows out of the upper cylindrical tank into the lower tank (4) via the outlet pipe. A negative pressure is created above the level of the upper tank, which causes air to be drawn from the air-conditioned laboratory space through the gas meter under test above the level of the oil in this tank. When the flow has stabilised, a pulse from the gas meter under test will switch the diverter valve (2) and oil will begin to flow onto the balance. After the defined volume of air has passed through the gas meter under test, the switching device (2) is switched at a certain impulse from the gas meter so that the oil no longer flows onto the balance and the open pneumatic valve (10) is closed. After the balance (3) has settled, the weight of the oil which has flowed out is read. The volume of oil drained is equivalent to the volume of air replacing the oil in the upper tank which is drawn in through the gauge under test. This volume is determined indirectly from the known density of the oil and the weight of the oil spilled. The oil density during the test is also determined indirectly by measuring the temperature of the oil flowing out and from the known temperature dependence of the oil density. After weighing, the oil is discharged from the balance into the lower tank (4) and pumped from there by the pump (9) through the discharge pipe (13). The pumping continues until the oil level in the upper tank reaches the value before the start of the test. The oil level is measured by a capacitive sensor. As the oil is pumped from the lower to the upper tank, the side valve (7) is automatically opened to prevent air from the upper tank from being forced into the gas meter under test. An overflow pipe (14) to the lower tank is incorporated in the upper tank to prevent any overfilling of the upper tank with oil and its discharge into the gas meter under test.
The entire EZEM testing is managed and controlled by a personal computer equipped with the appropriate software. The auxiliary gauges also measure the oil flow temperature, the barometric pressure in the laboratory, the air vacuum in the upper tank, the air temperature in the upper tank and the air temperature in the gas meter under test during the test. During one test, all measured quantities are read from the auxiliary gauges once per second. At the end of each test the average of all these readings is calculated. The reference pressure on the gas meter under test is taken to be the barometric pressure in the laboratory. These values shall be used in the relationship below to determine the relative error of the gas meter under test. The relationship below includes an allowance for the difference in density between the weight used to calibrate the balance and the density of the oil being weighed in the measurement.
Where it says:
fc | ...........…. | relative error of the tested gas meter with which it records the leaked volume (%), |
ΔI | ...........…. | is the number of pulses generated by the gas meter under test during the test (imp), |
pB | ...........…. | is the barometric pressure during the test (Pa), |
Te | ...........…. | is the thermodynamic temperature of the air in the upper tank (K), |
ρzav | ...........…. | is the density of the weight used to calibrate the balance (kg.m-3 ), |
k | ...........…. | is the directive of the line expressing the dependence of the density of the oil on its temperature (kg.m-3 . Co-1 ), |
t3 | ...........…. | is the oil temperature during the test (o C) |
q | ...........…. | is the constant in the equation expressing the dependence of the density of the oil on its temperature (kg.m-3), |
Imp | ...........…. | is the pulse number of the tested gas meter, expressing how many pulses the meter generates records a leaked volume of 1m3 (imp/m )3 |
m | ...........…. | is the mass of oil weighed on the balance during the test (kg), |
ρvzd | ...........…. | is the density of air during the test (kg.m )-3 |
phub | ...........…. | is the vacuum in the upper tank; its value has a negative sign (Pa), |
Tp | ...........…. | is the thermodynamic temperature of the air in the gas meter (K). |
At least once every three years EZEM participates in an international comparison, which has always been successful.